UR20-FBC-MOD-TCP-ECO

Coupleur bus de terrain pour E/S déportées, IP20, Modbus/TCP

Référence produit 2659700000

Agréments

Agréments
ROHS
UL File Number Search
Nº de certificat (cULus)

Informations générales de commande

Version
Référence
Type
GTIN (EAN)
Qté.

Dimensions et poids

Profondeur
Profondeur (pouces)
Hauteur
Hauteur (pouces)
Largeur
Largeur (pouces)
Poids net

Températures

Température de stockage
Température de fonctionnement

Conformité environnementale du produit

Statut de conformité RoHS
Exemption RoHS (le cas échéant/connue)
REACH SVHC
SCIP

Caractéristiques de raccordement

Section de raccordement du conducteur, max.
Section de raccordement du conducteur, min.
Section de raccordement du conducteur, rigide, max. (AWG)
Section de raccordement du conducteur, rigide, min. (AWG)
Section de raccordement du conducteur, souple, max.
Section de raccordement du conducteur, souple, max. (AWG)
Section de raccordement du conducteur, souple, min.
Section de raccordement du conducteur, souple, min. (AWG)
Type de raccordement

Caractéristiques générales

Barrette de liaison équipée
Catégorie de surtension
Choc
Classe d'inflammabilité selon UL 94
Humidité de l'air (fonctionnement)
Humidité de l'air (stockage)
Humidité de l'air (transport)
Pression d'air (opération)
Pression de l'air (stockage)
Pression de l'air (transport)
Tension d'essai
Tenue aux vibrations

Alimentation électrique

Consommation de courant par Isystèmetyp.
Courant d'alimentation pour IENTRÉE (ligne de courant d’entrée) , max.
Courant d'alimentation pour le système, max.
Tension d#92alimentation
Tension d’alimentation pour système et entrées

Données système

Données de diagnostic
Données process
Interface
Interface bus de terrain
nombre max. de modules
Paramètres
Protocole bus de terrain
Raccordement
Type de module
Vitesse de transmission du bus de terrain, max.
Vitesse de transmission sur le bus système, max.

Note importante

Informations sur le produit

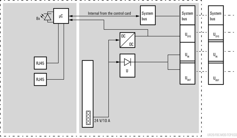
Illustrations du produit

Titre d'illustration #96 02
Légende 02

Classifications

ETIM 8.0
ETIM 9.0
ETIM 10.0
ECLASS 14.0
ECLASS 15.0